槍鉆刃磨較簡單,通過槍鉆刃磨專用工裝RMQ-B,可以很方便的在磨刀機上準確刃磨槍鉆各個角度。
下面,對不同直徑槍鉆的刃磨角度做簡略介紹。
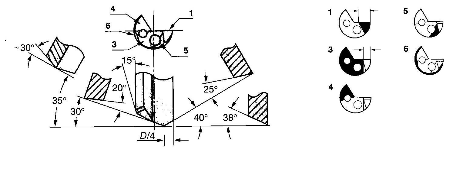
一:直徑≤φ5mm槍鉆的刃磨角度;

備注:
因為此規格范圍內的槍鉆直徑較小,圖示處的外刃修光刃帶可以不留。
鉆尖需要控制在1/4直徑處。
二:φ5mm<直徑≤φ20mm槍鉆的刃磨角度

備注:
外刃修光刃帶寬度控制在0.2mm左右,寬窄均勻;
刀尖一般控制在1/4直徑處。如希望孔徑略有增加,可將刀尖外移至1/5直徑處;如希望直徑略有減少,可將刀尖適當內移。
如果加工過程中刀具發熱,工件發燙,可適當加大第4面的刃磨角度,以便更大量的切削油流經刀面,可以起到降低溫度的效果。
三:φ20mm<直徑槍鉆的刃磨角度

備注:
外刃修光刃帶寬度控制在0.25mm左右,寬窄均勻;
圖示中第一刀面與第三刀面的水平角度對鐵屑形狀的影響非常明顯。如增大水平角,則切削阻力減小,但鐵屑會變長。減小水平角度,則鐵屑會變短,排屑變得容易。但是,切削力會增加。
